加微信聯系
[HTML]
[XML]
産品展示
新聞中心
技術支持
網站首頁
公司介紹
産品展示
行業資訊
技術支持
樣本下載
産品應用
在線訂購
在線留言
聯系我們
産品分類:
減速機
┊
蝸輪絲杆升降機
┊
轉向箱
┊
蝸輪蝸杆減速機
┊
齒輪減速機
┊
行星齒輪減速機
┊
擺線針輪減速機
┊
無級變速機
┊
大功率減速器
┊
資訊分類
新聞中心
技術支持
産品資訊
和産品相關的技術文章
SWL蝸輪絲杆升降機
TRSS系列絲杆升降機
JWM螺旋升降機
T螺旋傘齒輪轉向箱
ARA螺旋錐齒輪轉向箱
HD螺旋錐齒換向器
R系列斜齒輪硬齒面減速機
S系列斜齒輪蝸輪減速機
K系列螺旋錐齒輪減速機
F系列平行軸斜齒輪減速機
RV系列蝸輪蝸杆減速機
WP鑄鐵蝸輪蝸杆減速機
伺服行星減速機
P系列行星齒輪減速器
X/B系列擺線針輪減速機
WB微型擺線減速機
MB無級變速機
G全封閉齒輪減速電機
MC硬齒面減速器
HB标準工業齒輪箱
Z系列硬齒面圓柱齒輪減速機
當前位置:
網站首頁
>
技術支持
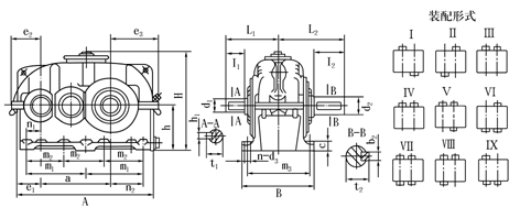
> ZLY、ZLZ圓柱齒輪減速機外形尺寸(JB/T8853-2001)
ZLY、ZLZ圓柱齒輪減速機外形尺寸(JB/T8853-2001)
Tags:
Z系列硬齒面圓柱齒輪減速機
發布時間: 2015-01-27
規格
A
B
H ≈
a
i=6.3~11.2
i=12.5~20
d
2
(m6)
ι
2
L
2
b
2
t
2
d
1
(m6)
ι
1
L
1
b
1
t
1
d
1
(m6)
ι
1
L
1
b
1
t
1
112
385
215
265
192
24
36
141
8
27
22
36
141
6
24.5
48
82
192
14
51.5
125
425
235
309
215
28
42
157
8
31
24
36
151
8
27
55
82
197
16
59
140
475
245
335
240
32
58
185
10
35
28
42
167
8
31
65
105
230
18
69
160
540
290
375
272
38
58
198
10
41
32
58
198
10
35
75
105
245
20
79.5
180
600
320
435
305
42
82
232
12
45
32
58
208
10
35
85
130
285
22
90
200
665
355
489
340
48
82
247
14
51.5
38
58
223
10
41
95
130
300
25
100
224
755
390
515
384
48
82
267
14
51.5
42
82
267
12
45
100
165
355
28
106
250
830
450
594
430
60
105
315
18
64
48
82
292
14
51.5
110
165
380
28
116
280
920
500
670
480
65
105
340
18
69
55
82
317
16
59
130
200
440
32
137
315
1030
570
780
539
75
105
365
20
79.5
60
105
365
18
64
140
200
470
36
148
355
1150
600
870
605
85
130
410
22
90
70
105
385
20
74.5
170
240
530
40
179
400
1280
690
968
680
90
130
440
25
95
80
130
440
22
85
180
240
560
45
190
450
1450
750
1065
765
100
165
515
28
106
85
130
480
22
90
220
280
640
50
231
i=6.3~12.5
i=14~20
500
1600
830
1190
855
110
165
555
28
116
95
130
520
25
100
240
330
730
56
252
560
1760
910
1320
960
120
165
575
32
127
110
165
575
28
116
280
380
820
63
292
630
1980
1010
1480
1080
140
200
660
36
148
120
165
625
32
127
300
380
870
70
314
710
2220
1110
1653
1210
160
240
740
40
169
140
200
700
36
148
340
450
990
80
355
ZLY ZLZ
C
m
1
m
2
m
3
n
1
n
2
e
1
e
2
e
3
h
地腳螺栓孔
重量
kg
潤滑油量L
d
3
n
112
22
160
—
180
43
85
75.5
92
134
125
15
6
60
3
125
25
180
—
200
45
100
77.5
98
153
140
15
69
4.3
140
25
200
—
210
47.5
112.5
85
106
171
160
15
105
6
160
32
225
—
245
58
120
103
126
188
180
18.5
6
155
8.5
180
32
250
—
275
60
135
110
134
209
200
18.5
185
11.5
200
40
280
—
300
65
155
117.5
148
238
225
24
260
16.5
224
40
310
—
335
70.5
165.5
137.5
168
263
250
24
6
370
23
250
50
350
—
380
80
190
145
184
293
280
28
527
32
280
50
380
—
430
75
205
155
195
325
315
28
700
46
315
63
420
—
490
78
223
173
219
364
355
35
845
65
355
63
475
—
520
92.5
252.5
192.5
238
398
400
35
6
1250
90
400
80
520
—
590
95
265
215
275
445
450
42
6
1750
125
450
80
—
400
650
117.5
317.5
242.5
305
505
500
42
8
2650
180
500
100
—
440
710
120
345
262.5
337
557
560
48
8
3400
250
560
100
—
490
790
120
390
265
354
624
630
48
4500
350
630
125
—
540
870
115
425
295
384
694
710
56
6800
350
710
125
—
610
950
140
480
335
440
780
800
56
8509
520
上一篇:
ZLY、ZLZ圓柱齒輪減速機功率(JB/T8853-2001)
下一篇:
ZLY、ZLZ圓柱齒輪減速機概述及特點、型号、規格及其表示方法(JB/T8853-2001)
相關新聞文章
> 查看更多
蝸杆傳動的熱平衡是什麽
2025-04-03
對滾動軸承保持架用材料有何要求
2024-11-07
諧波傳動減速器檢驗規則(GB/T14118-93)
2024-03-26
ZQ、ZQH型圓柱齒輪減速器外形與安裝尺寸及軸端型式(JB1585-75)
2015-09-04
ZQ、ZQH型圓柱齒輪減速器承載能力(JB1585-75)
2015-09-03
ZQ、ZQH型圓柱齒輪減速器技術參數(JB1585-75)
2015-09-02
ZQ、ZQH型圓柱齒輪減速器型号與示例(JB1585-75)
2015-09-01
YK系列圓錐—圓柱齒輪減速器類型、特點和适用範圍、裝配型式、代号示例(YB/T050-93)
2015-08-08
YK系列圓錐—圓柱齒輪減速器公稱功率和熱功率(一)(YB/T050-93)
2015-08-07
YK系列圓錐—圓柱齒輪減速器公稱功率和熱功率(二)(YB/T050-93)
2015-08-06
YK系列圓錐—圓柱齒輪減速器傳動比(YB/T050-93)
2015-08-05
YK系列圓錐—圓柱齒輪減速器轉動慣量和影響系數(YB/T050-93)
2015-08-04
【
關閉本頁
】 【
打印本頁
】
電 話:021-22815912 021-22816186 傳 真:021-32050712 郵箱:sales@021jsj.cn
減速機
絲杆升降機
轉向箱
蝸輪蝸杆減速機
Copyright
©
2009-2026
上海恒點傳動設備有限公司
版權所有 地址:上海市金山區亭林鎮林寶路39号 郵編:200442
滬ICP備10206998号-2
友情鏈接
:
機械設備網
|
渦街流量計
|
輸送機
|
變頻控制櫃
|
破碎機
|
工業同城
|
手持終端
|
柴油發電機
|
uv平闆打印機
|
風淋室
|
QUV
|
防火門
|
九愛圖紙
|
感應加熱設備
|
輸送帶廠家
|
噪聲治理
|
西門子plc
|
拖鏈電纜
|
AGV
|
機械雜志
|
現代機械
|
UWB高精度定位
|
×
手機用戶請長(zhǎng)按添加到“照片”,然後(hòu)打開微信掃一掃選擇二維碼。